核心提示:
1、永坤黄金被曝无法兑付,疑似跑路,投资者损失惨重,部分员工也深受其害,目前,杭州警方已立案,公司总部被查封。
2、5月20日左右暴雷,但5月16日仍在做“五一大促”“5月宠粉季”活动,甚至宣传买黄金克重送“足金金豆免费送”来进行吸金。
3、目前,永坤黄金公司官网、商城仍在运营,但交易数据已停滞。
4、一份集体保险单披露信息(下称“仓单”)显示,永坤黄金客户托管的黄金,存量为5359千克。截至2025年4月28日,核查时标的物价值大于41亿元。
01
稳赚不赔的“神话”破灭了
“100多万,血本无归,怎么办?”、“分4次购买黄金理财,合计1230万元”……
近日,凤凰网《风暴眼》留意到,有不少永坤黄金的投资者在社交平台上发帖称,永坤黄金跑路,自己在里面投的钱兑不出来。
爱企查显示,永坤黄金的经营实体为浙江永坤控股有限公司,成立于2014年,主要经营黄金珠宝等饰品,公司实控人为汪国海。
而永坤的商业模式看似很简单。
一种是销售 -托管 -回收业务,他们向投资者承诺保管黄金,到期后能获得 5%至 9%的年化收益,用看似稳妥的收益吸引资金流入。
有投资者将 1420 克黄金委托浙江永坤控股有限公司进行仓储保管,为期半年,当时对应黄金市值 100 万元。按照公司业务规定,合同期满提取可不收取黄金保管费。在该合同中,浙江永坤承诺将在半年后回购 “黄金委托保管合同” 内的黄金现货产品,回购总价为 103.25 万元。
另一类则是网络销售的 “预定金条”产品,这更像是精心设计的迷局。这类产品需要 28天至 60天才能发货,表面看与普通销售无异,实则藏着 “稳赚不赔”的诱饵。
金价上涨时,投资者可立即 “变”出现金;金价下跌时,公司退钱还送积分。
比如,投资者以400元/克购入10克金条,约定28天后发货,若28天后金价跌至390元/克,投资者不仅可拿回全部本金,还能获得1888积分奖励。若金价上涨,永坤则按照最新金价回购提现或兑换实物黄金。
这套 “涨了赚钱,跌了保本”的剧本,听起来像极了黄金市场的 “永动机”。 而所有 “稳赚不赔” 的故事里,金条从来不是主角,真正在台上跳舞的,是那个把“互联网 +黄金 +金融” 念成咒语的人以及他身后那张越织越密的网。
02
暴雷前夜仍在疯狂吸金
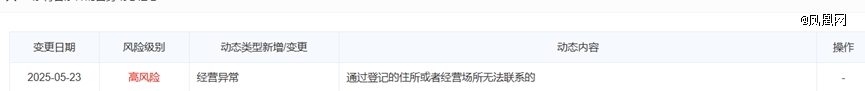
早在5月23日,永坤黄金就被提示高风险,原因是通过登记的住所或者经营场所无法联系。

不过,凤凰网《风暴眼》发现,永坤珠宝服务号的永坤商城目前还在运行中,金市直播最新一条消息是5分钟前,不过其黄金课堂停留在了14天前。

永坤商城首页,还在显示着黄金的实时价格,只不过,今日成交与旧金回收处均显示为“0”。
更加讽刺的是,永坤黄金是在5月20日左右被曝暴雷,无法兑付。而在5月16日时,永坤商城中的活动页,还在做着五一大促的活动。

不仅如此,永坤黄金还在做着“5月宠粉季”活动,7个大字“足金金豆免费送”明晃晃的吸引着投资者。

每天成功支付【预定产品】、【28天预约回收产品】克重每满50克,奖励3000积分” ,克重前三名均可获得足金金豆,第4-8名获得不同数量的积分。该积分可在永坤商城中兑换礼品,如黄金、K金、话费等,目前该积分商城显示暂无内容。

当然,永坤黄金暴雷,受伤害的不只是投资者,不少员工也深受其害。
“现在不仅工作没了,家里所有钱也都投进去了,还欠着款。”一位永坤控股前员工在总部被封时带着哭腔说。她和许多同事一样,既是员工也是受害者,被公司高额返佣和内部承诺诱入深渊。
永坤黄金暴雷后,杭州警方封锁了永坤控股总部7楼货梯通道,封条显示“上海永绿置业有限公司杭州分公司”字样。
目前,杭州市公安局拱墅区分局经侦大队接线人员对媒体表示,永坤黄金相关公司已经立案,具体立案信息未透露。
多家媒体引用的一份集体保险单披露信息(下称“仓单”)显示,永坤黄金客户托管的黄金保险金额约为8.57亿元,黄金存量为5359千克。截至2025年4月28日,核查时标的物价值大于41亿元,堪称*黄金杀猪盘。

而就在永坤骗局崩塌之时,正值黄金历史级大涨。受俄乌冲突、美国债务危机等因素,5月21日至今全球黄金大涨近3%。

03
跑路在所难免
支撑起永坤黄金的核心人物是汪国海。
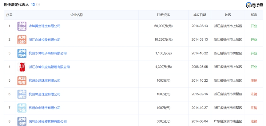
爱企查显示,汪国海名下一度有14家公司,他担任其中13家公司法人。但其中10家已经注销。

从网络上的一篇公开文章来看,他的职业生涯大致分为两段。
世纪之初,当国家松开黄金市场管控的缰绳,上海黄金交易所蹒跚起步,国人对黄金的天然信任早已刻进基因。
踩准时代脉搏的汪国海,成了中国最早一批高级黄金分析师与上海黄金交易所注册交易员,也率先嗅到了这片蓝海的血腥味。 2008年,他宣布辞职创业,主导创立浙江永坤控股有限公司。
但从公开资料来看,这段自述式的经历未必准确。爱企查显示,浙江永坤控股有限公司成立于2014年,并非2008年。
他自称总结并实践了被称为“汪氏多样性以金创金法”的业务体系,但其实就是“互联网+黄金+金融”。
如何让老百姓把真金白银交出来?永坤的答案是 “看得见的门面”。从永坤控股官网来看,永坤黄金门店有23家,珠宝门店11家,覆盖浙江、福建、安徽、山东多地,其中,大部分门店位于浙江。
繁华表象下,系统性风险早已沿着违规脉络暗涌蔓延,最终以 “暴雷”的形式刺破资本泡沫。
从经营资质层面看,永坤黄金作为珠宝首饰零售企业,仅具备《营业执照》核定的 “贵金属零售”资质,根据《金融许可证管理办法》及《黄金市场管理办法》,黄金资产管理、积存业务属于特许金融业务,需取得央行或金融监管部门专项许可。
但它却超范围违规开展黄金托管、回购等业务,在没有专业资质与合规监管的情况下,业务运作潜藏着巨大风险。一旦金价快速波动,在风控端容易出现问题。
而年内COMEX黄金震荡上行,从年初的2630美元/盎司一度冲高至4月22日的3509美元/盎司。随后,金价波动下行,如此行情下,永坤黄金的经营模式面临的风险极大。
更为关键的是,永坤黄金的商业模式本质上是庞氏骗局,也是暴雷的核心原因。
永坤黄金承诺的年化收益率远超合法黄金投资或实体经营能达到的正常利润率,为维持运转,只能不断吸纳新投资者资金,用新钱还旧账,填补前期投资者本息、高昂运营成本及其他投资亏损窟窿。
一旦市场环境变化、投资者热情消退,新资金流入锐减,资金链便会应声断裂。像 “黄金托管”业务中,投资者购买的黄金未实际交付,仅靠一纸合同维系投资关系,公司将投资者资金汇集形成资金池,用于各种开销,当资金池入不敷出,暴雷也就不可避免。
只是,在高额收益面前,大多数人忘记了风险。
只有当潮水退去才发现,那些被编织出来的财富神话,不过是用新投资者的资金堆砌的海市蜃楼,而真正该被铭记的,是商业世界里亘古不变的真理:任何脱离风险管控的“稳赚”承诺,终将在时间的淘洗中,露出庞氏骗局的底色。
参考资料:
《“消失”的永坤黄金》界面新闻
《永坤黄金出现大规模兑付异常,“稳赚不赔”的黄金投资神话崩塌》*财经
《知名黄金机构疑爆雷,总部被封,有人全家被套超1200万,前员工:所有钱都投进去了》极目新闻
【本文由投资界合作伙伴凤凰网授权发布,本平台仅提供信息存储服务。】如有任何疑问,请联系(editor@zero2ipo.com.cn)投资界处理。





