在此前的文章《苹果自研图像传感器? 一项专利惊艳亮相》中,我们介绍了苹果公司新发布了一项名为“具有高动态范围和低噪点的堆叠像素图像传感器”的专利。
近日的最新消息标明,苹果正在为一款能够瞬间定格整个场景的手机摄像头奠定基础。这就是全局快门。一项全新专利证实了这一点。这意味着更清晰的运动画面、更少的闪烁带以及更专业的视频效果。以下是任何人都能轻松上手的简易版本。

想象一下裁判喊“停”。每个人都同时停下。然后摄像机记录下它所看到的一切。由于同时停下,直线保持笔直。LED墙和舞台灯光的效果更好。“闪光灯”更容易拍摄比赛。以下是一些原则:
1、卷帘快门逐行读取图像。快速运动会使直线物体弯曲并产生抖动。
2、全局快门在同一时刻抓取每个像素,然后冷静地读取它。
3、苹果的专利展示了每个像素内部都有一个微小的“等候室”,这样手机就可以一次性定格整个画面。这是一个很棒的创意。基于该应用,您可以探索以下方案:

接下来,我们将用简单的英语解释苹果的专利。
首先,我们将每个像素想象成一个三层的堆栈。其中一楼是采光处、二楼是一个小型候诊室、3 楼是将光转换成数字的微型仪表。

具体的工作原理如下所示:曝光时,*层会充满光线。在冻结时刻,每个像素会同时将光线从*层移动到第二层。这样,整个画面就被锁定了。然后,手机逐行将保存的光线从第二层移动到第三层,从而生成照片。中间的那层就是秘密所在。它为每个像素提供了专属的“停驻点”,用于存放冻结的图像。

那么,在这个方案中,苹果的做法又有何不同呢?
如图所示,苹果的方法是向上建造,而不是横向建造。中观目前市面上的许多设计,他们是将“候诊室”放在聚光灯旁边。这会占用空间和光线。Apple 将通道垂直堆叠,从而节省更多采光空间。
当中,一个部分承担两项任务——中间层存储图像并帮助移动图像,这使得像素紧凑且易于手机操作。定格画面中则杂散光更少。该专利描述了在快门“关闭”时保护“候诊室”的防护罩和沟槽。更清晰的定格画面,更清晰的图像。如下所示,图纸包括用于自动对焦的背照式照明和分割像素。这些都是密集智能手机传感器的工具,而不是笨重的实验室零件。

苹果对这项专利的自述
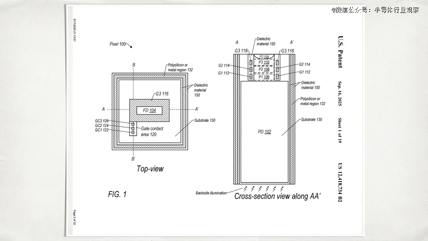
正如苹果所说。图像传感器可包含多个像素,每个像素可包含一个光电二极管,该光电二极管具有电荷积累区(“PD”)、浮动扩散区(“FD”)以及垂直位于PD和FD之间的电荷传输区。垂直电荷传输区可包括*电荷调制区(“P1”)、第二电荷调制区(“P2”)和第三电荷调制区(“P3”)。图像传感器可工作在全局快门模式下,其中P2可用作像素内电荷存储区,用于在电荷从PD经由P1、P2和P3传输到FD期间临时存储电荷。
至于本专利,则总体上涉及一种图像传感器,更具体地涉及一种具有垂直集成多相电荷转移技术的图像传感器像素,用于在全局快门模式下进行图像捕获。
苹果指出,图像捕获设备(例如,相机)广泛应用于各种电子设备,例如移动设备(例如,智能手机、平板电脑、笔记本电脑等)、机器人设备或安全监控设备等。图像捕获设备可以包括一个具有多个聚光像素的图像传感器。每个像素可以包括一个光电二极管。该图像捕获设备可以捕获来自环境的光并将光传递到图像传感器。当暴露于光线下时,像素的光电二极管可以积累电荷。在读出时,可以使用一个或多个晶体管从光电二极管中读出光电二极管的电荷,以生成模拟图像信号。模拟图像信号可以转换为数字信号,并进一步处理以生成图像。
如苹果所说,在一些实施例中,图像传感器可以包括多个聚光像素,例如,这些像素被组织成具有一行或多行像素和一列或多列像素的像素阵列。在一些实施例中,图像传感器可以是CMOS(互补金属氧化物半导体)图像传感器、CCD(电荷耦合器件)图像传感器等。在一些实施例中,图像传感器可以是图像捕获设备(例如,相机)的一部分,该图像捕获设备还可以是电子设备(例如,移动设备(例如,智能手机、平板电脑、笔记本电脑等)、机器人设备或安全监控设备等)的一部分。在一些实施例中,图像传感器的每个像素可以包括至少一个光电二极管,该光电二极管包括电荷积累区(以下简称“PD”)、浮动扩散区(以下简称“FD”)以及垂直位于PD和FD之间的电荷传输区。
“当每个像素暴露于光线下时,PD 可以积累电荷或光载流子。在读出时,至少部分电荷可以从 PD 传输到 FD,从而在 FD 上生成模拟图像信号(例如,模拟电压),该信号可以通过像素外部的像素输出线进一步访问。在某些实施例中,通过像素输出线访问的模拟图像信号可以进一步处理,例如,使用模数转换器进行模数转换,然后由图像信号处理器 (ISP) 进行数字处理,以生成一个或多个图像。”苹果强调。
苹果进一步指出,通常,给定的图像采集设备可以以滚动快门模式或全局快门模式运行。在滚动快门模式下,当读出的“波”扫过图像传感器时,图像采集设备的图像传感器像素阵列的不同行可以在不同的时间曝光。例如,像素阵列的像素可以被曝光,并且像素的图像信号可以顺序读出,例如,从像素阵列的顶部到底部逐行读取。例如,同一行的像素可以同时读出,而同一列但不同行的像素可以逐个顺序读出。因此,在滚动快门模式下,图像传感器可以逐行顺序记录图像,而不是一次捕获整个图像。
相比之下,在全局快门模式下,所有像素的曝光时间相同,这意味着图像传感器中的每个像素可以同时开始和结束曝光。因此,可以一次记录整个图像。由于图像的不同“线条”在不同时间记录,卷帘快门会导致所捕获图像的颜色和/或色调变化。在某些应用中,例如高速摄影或录制,这可能会导致严重的干扰,并极大地影响所捕获图像的质量。
因此,在某些实施例中,全局快门可能是*。然而,在某些实施例中,即使图像传感器的像素同时结束曝光,它们的图像信号仍可能像卷帘快门一样被顺序读取,例如逐行读取。因此,图像传感器可能需要“存储器”来临时存储曝光结束时像素的(a)电荷(例如,在电荷域中)和/或(b)模拟或数字图像信号(例如,在电压域中),直到读取单个像素为止。
为了解决这个问题,在一些实施例中,本文公开的图像传感器的每个像素都可以包含一个像素内电荷存储区域。在曝光结束时,电荷可以从像素探测器(PD)转移到像素内电荷存储区域。电荷可以暂时存储在那里,直到像素读出。在读出时,电荷可以从像素内电荷存储区域转移到荧光检测器(FD),然后可以通过像素输出线从荧光检测器(FD)进一步访问模拟图像信息。
“本领域技术人员应当理解,本文公开的图像传感器可以提供多种优势。”苹果表示。
首先,它可以为每个像素提供一个像素内电荷存储区域,用于暂时存储像素的电荷,从而使图像传感器能够以全局快门模式工作。此外,“存储器”集成为像素的一部分,用于将电荷存储在像素内部,从而消除或至少减少了其他额外的存储组件(例如,图像传感器上的存储芯片等)。因此,这可以减少图像传感器的组件数量,减少图像传感器的占用空间,和/或增加传感器的像素密度。
苹果强调。本文所述的方法可以在不同的实施例中以软件、硬件或其组合的形式实现。此外,方法各块的顺序可以改变,并且可以添加、重新排序、组合、省略、修改各种元素等。本领域技术人员在受益于本公开内容后,可以做出各种修改和变更。本文所述的各种实施例仅用于说明,而非限制。可以进行多种变化、修改、添加和改进。因此,可以为本文所述的组件提供多个实例,但单个实例除外。各种组件、操作和数据存储之间的边界在某种程度上是任意的,并且特定操作将在特定说明性配置的上下文中进行说明。可以设想其他功能分配,并且这些分配可能落入后续权利要求的范围内。
最后,在示例配置中以离散组件形式呈现的结构和功能可以作为组合结构或组件来实现。这些以及其他变化、修改、添加和改进可能落入后续权利要求所定义的实施例的范围内。
【本文由投资界合作伙伴微信公众号:半导体行业观察授权发布,本平台仅提供信息存储服务。】如有任何疑问,请联系(editor@zero2ipo.com.cn)投资界处理。
旗下微信矩阵:















