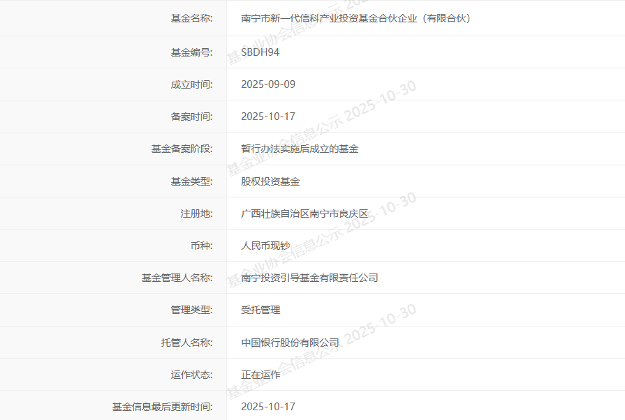
投资界(ID:pedaily2012)10月30日消息,近期,南宁金融集团参与设立的南宁市新一代信科产业投资基金合伙企业(有限合伙)(以下简称“新一代信科基金”)在中国证券投资基金业协会成功备案(备案编码:SBDH94),标志着南宁金融集团在围绕人工智能等重点产业的资本布局上取得新突破,将进一步汇聚金融活水,为南宁市产业创新与区域经济高质量发展注入强劲动能。

新一代信科基金由南宁金融集团旗下南宁朱槿资本运营集团有限责任公司(以下简称“朱槿资本集团”)与中国—东盟信息港股份有限公司共同发起设立,总规模1亿元。基金将聚焦人工智能产业,依托南宁金融集团金融资源和中国东信产业、技术、渠道优势,以投促引带动一批优质人工智能企业及向海经济产业链企业入邕发展,助力构建中国—东盟“数字丝绸之路”,打造面向东盟的人工智能国际合作高地。
据悉,下一步南宁金融集团将坚定不移践行市场化招商路线,创新资本招商联动模式,持续扩大招商引资“朋友圈”,聚焦“人工智能+”产业招商,以资本为纽带,推动更多具备核心技术的优质企业落地南宁,同时,进一步强化投后产业赋能,坚持“引进与培育并重、服务与赋能并行”,为落地项目提供全方位、全周期支持,确保项目“引得进、留得住、发展好”,助力南宁市现代化产业体系建设迈上新台阶。
来源:南宁金融投资集团
点击获取更多LP资讯
本文来源投资界,原文:https://news.pedaily.cn/202510/556599.shtml
【本文为投资界原创,网页转载须在文首注明来源投资界(微信公众号ID:PEdaily2012)及作者名字。微信转载,须在微信原文评论区联系授权。违规转载必究责。】
旗下微信矩阵:
















