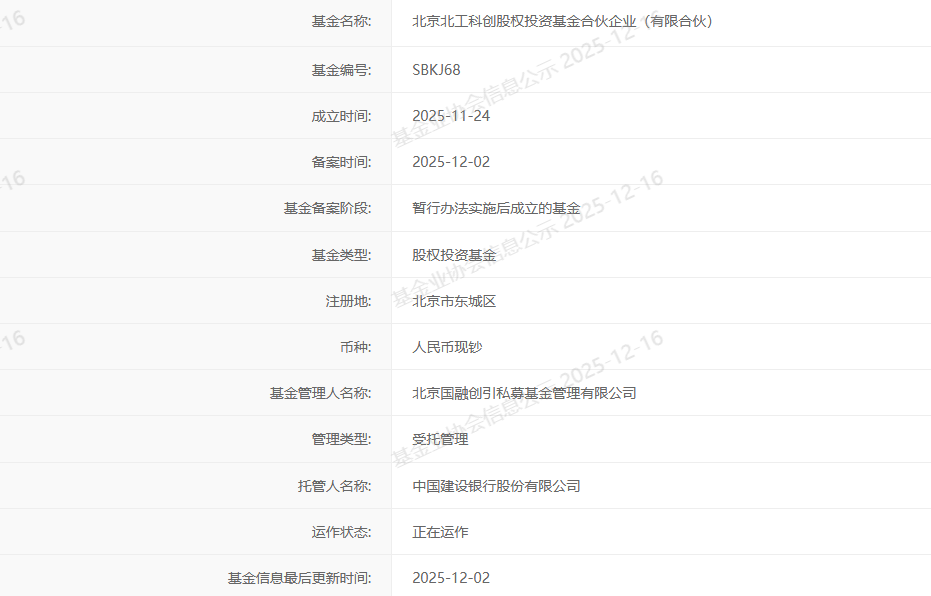
投资界(ID:pedaily2012)12月16日消息,近日,由北京国资公司所属北工投资与北京国管旗下北创投共同发起设立的北京北工科创股权投资基金合伙企业(有限合伙)(以下简称“北工科创基金”)在京正式成立,该基金聚焦“科技创新引领产业创新”主题,规模3亿元,目前已完成中国证券投资基金业协会备案。

北工科创基金的管理人由北工投资子企业国融创引担任,该基金将依托北京国资公司与北京国管双方的资源禀赋,围绕北京市重点产业规划,充分挖掘新型产业研发机构项目资源,助力发展新质生产力,重点布局新一代信息技术、人工智能、医药健康、先进制造、绿色环保及新能源等领域,通过基金投资的方式,为企业发展提供资金支持,推动产业链上下游协同创新发展。
来源:北京国资公司
点击获取更多LP资讯
本文来源投资界,原文:https://news.pedaily.cn/202512/558704.shtml
【本文为投资界原创,网页转载须在文首注明来源投资界(微信公众号ID:PEdaily2012)及作者名字。微信转载,须在微信原文评论区联系授权。违规转载必究责。】





