投资界(ID:pedaily2012)12月23日消息,12月22日,国家创业投资引导基金旗下的三只区域子基金,分别在北京、上海、深圳三地同日完成工商登记。这意味着,千亿级“航母”——国家创投引导基金正式完成了在京津冀、长三角、粤港澳大湾区三大核心经济圈的战略部署。分别为:
注册规模296.46亿元的“京津冀创业投资引导基金”(全称“京津冀创业投资引导基金合伙企业(有限合伙)”),该基金执行事务合伙人为中金资本。
注册规模471亿元的“长三角创投引导基金”(全称“长三角创业投资引导基金合伙企业(有限合伙)”),基金执行事务合伙人为新近成立的“国投创合长三角(上海)创业投资管理有限公司”,基金合伙人包括“国家创业投资引导基金”,央企“国投集团”,以及安徽省、浙江省(杭州市、宁波市)、上海市、(江苏省)苏州市多级国资、国企。

(图片来源:天眼查截图)
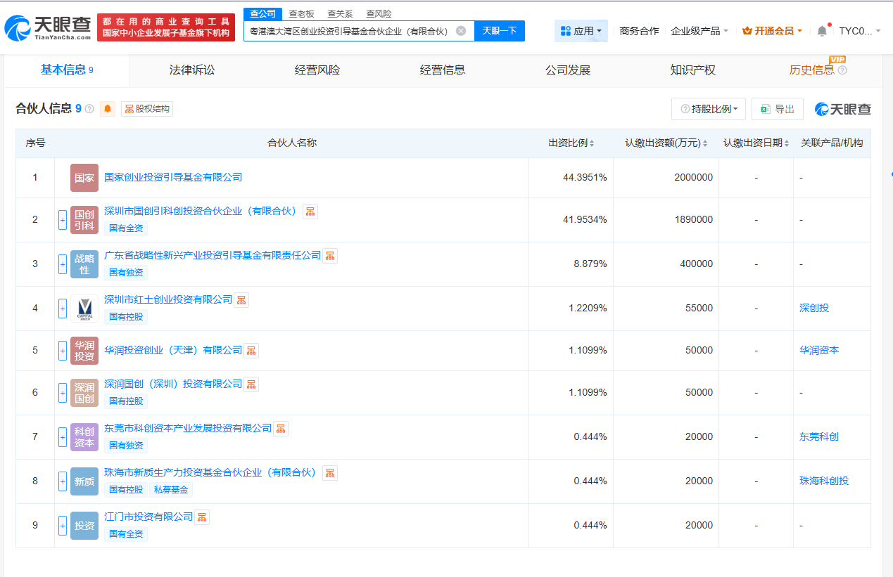
注册规模450.5亿元的“粤港澳大湾区创投引导基金”(全称“粤港澳大湾区创业投资引导基金合伙企业(有限合伙)”),基金执行事务合伙人为深润国创(深圳)投资有限公司。基金合伙人包括国家创业投资引导基金、深圳国创引科创基金、广东省战新引导基金、深创投集团系、华润系,广东省江门市、东莞市、珠海市相关国资主体/基金等。

(图片来源:天眼查截图)
据悉,“国家创业投资引导基金”存续期达到20年,主要引导金融资本投早、投小、投长期、投硬科技;通过市场化方式投资种子期、初创期企业,适当兼顾早中期中小微企业,支撑原创性、颠覆性技术创新和关键核心技术攻关,培育发展战略性新兴产业和未来产业。
点击获取更多LP资讯
本文来源投资界,原文:https://news.pedaily.cn/202512/559002.shtml





