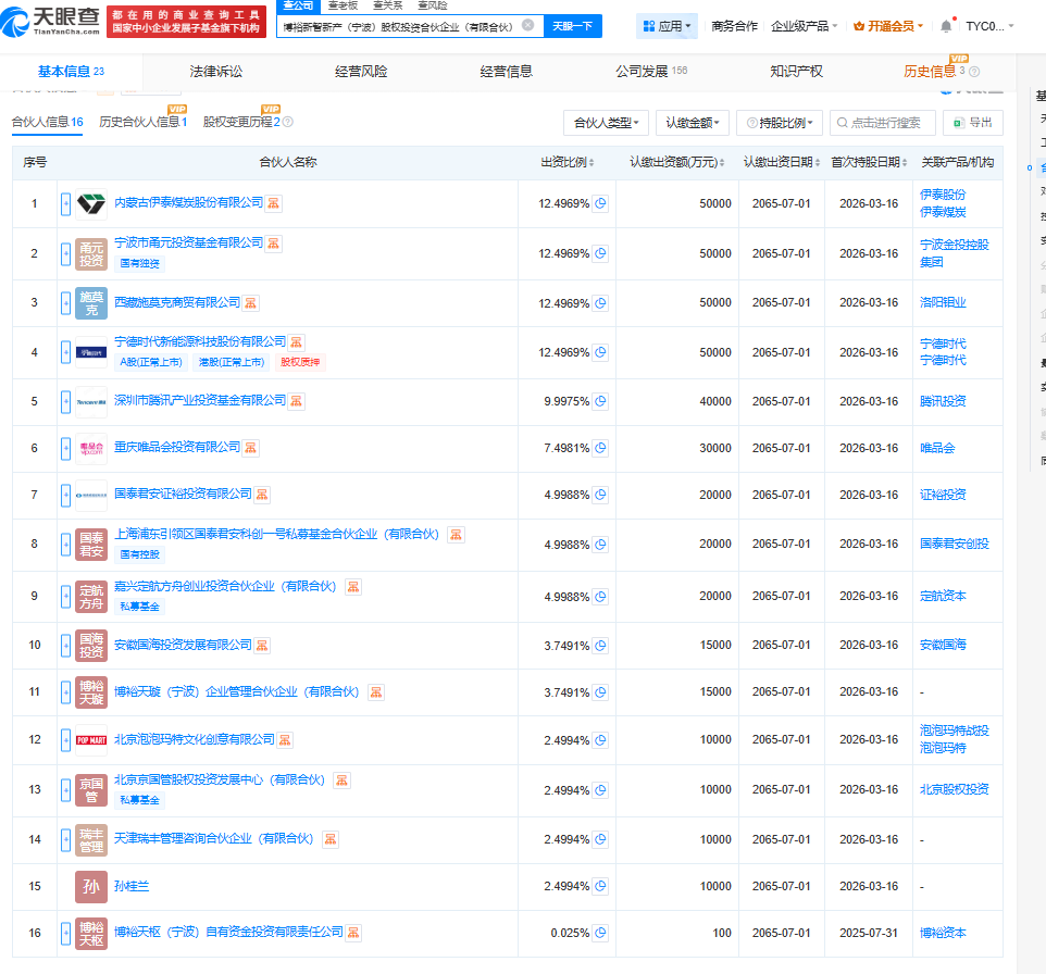
投资界(ID:pedaily2012)3月20日消息,近日,博裕新智新产(宁波)股权投资合伙企业(有限合伙)发生工商变更,新增宁德时代、深圳市腾讯产业投资基金有限公司、重庆唯品会投资有限公司、北京泡泡玛特文化创意有限公司等为合伙人,同时出资额由200万元增至40.01亿元。
据悉,博裕新智新产(宁波)基金,存续期12年,将主要通过适用法律所允许的股权及股权相关的投资方式,投资于中国境内外的科技、医疗健康、消费品和零售领域的成长期及成熟期企业;由“博裕陶然”作为基金管理人。


(图片来源:天眼查截图)
点击获取更多LP资讯
本文来源投资界,原文:https://news.pedaily.cn/202603/561910.shtml
【本文为投资界原创,网页转载须在文首注明来源投资界(微信公众号ID:PEdaily2012)及作者名字。微信转载,须在微信原文评论区联系授权。违规转载必究责。】




