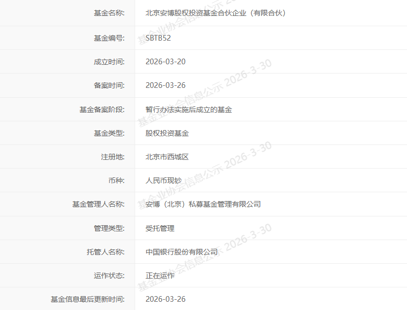
投资界(ID:pedaily2012)3月30日消息,近日,安博(Prologis)在中国资本市场的布局再进一步——北京安博股权投资基金在北京市西城区成功落地,并于2026年3月26日完成中国证券投资基金业协会备案。该基金同时也是2026年度北京市首只合格境外有限合伙人(QFLP)基金。本次安博(北京)私募基金管理有限公司获批QFLP试点额度20亿元人民币,并在试点额度内设立该QFLP基金。此次获批QFLP试点和基金备案,进一步体现了安博持续加大在中国市场投资布局的长期战略,也彰显了公司对中国经济高质量发展的坚定信心。

据悉,安博公司(Prologis)总部位于美国旧金山,是全球领先的物流基础设施企业和全球领先的物流地产基金管理企业,业务遍及全球20个国家。截至2025年12月,其全球资产管理规模达2150亿美元(约合人民币1.4万亿元),资产组合总面积达1.2亿平方米。去年3月,安博(北京)私募基金管理有限公司在西城区成立,注册资本金人民币1亿元,同月完成在中基协的私募基金管理人登记。此次时隔一年,安博公司在北京市推出一只QFLP基金。
未来,安博将依托全球领先的投资与运营能力,持续拓展在中国的投资布局,重点关注现代物流基础设施、供应链体系及相关领域的发展机遇。
来源:安博、北京西城
点击获取更多LP资讯
本文来源投资界,原文:https://news.pedaily.cn/202603/562236.shtml
【本文为投资界原创,网页转载须在文首注明来源投资界(微信公众号ID:PEdaily2012)及作者名字。微信转载,须在微信原文评论区联系授权。违规转载必究责。】




