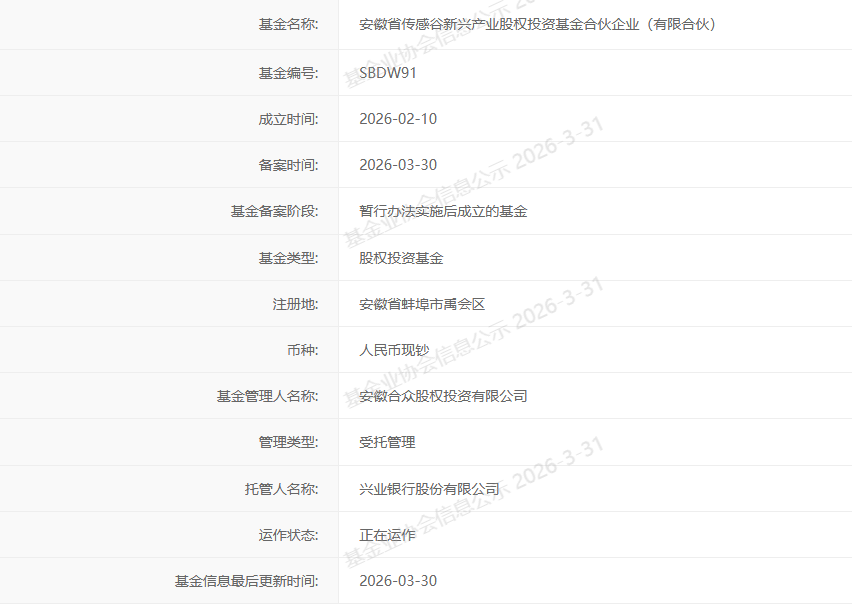
投资界(ID:pedaily2012)3月31日消息,近日,安徽省传感谷新兴产业股权投资基金,正式通过中国证券投资基金业协会备案(备案编码:SBDW91),标志着这支聚焦新兴产业发展的核心母基金迈入实质性运作阶段。

基金总规模20亿元,采用“7+3”十年期母子基金架构(7年投资期、3年退出期)。基金由合众投资担任管理人,联合蚌埠市经开区政府平台公司共同发起设立。作为安徽省传感谷产业发展的核心资本引擎,母基金以蚌埠中国传感谷为核心布局阵地,重点围绕传感器、半导体、新材料、新能源、高端装备制造、新一代信息技术等战略性新兴产业上下游开展精准投资。
基金充分发挥母基金的杠杆放大与产业引导作用,通过撬动超60亿元金融及社会资本,构建母子基金协同发展体系,总规模突破80亿元,致力于打造“资本赋能+产业培育+项目落地”的闭环生态,为蚌埠市经开区产业集群建设注入强劲资本动能。
来源:合众基金
点击获取更多LP资讯
本文来源投资界,原文:https://news.pedaily.cn/202603/562287.shtml
【本文为投资界原创,网页转载须在文首注明来源投资界(微信公众号ID:PEdaily2012)及作者名字。微信转载,须在微信原文评论区联系授权。违规转载必究责。】





