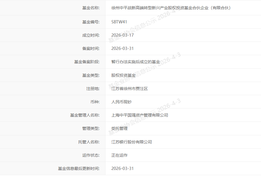
投资界(ID:pedaily2012)4月3日消息,近日,由国盛集团牵头组建的徐州经开区产业专项基金——徐州中平战新高端转型新兴产业股权投资基金合伙企业(有限合伙)(以下简称“基金”)正式完成中基协备案。

基金认缴规模15亿元,由国盛集团、徐州经开区联合上海中平国瑀资产管理有限公司(以下简称“中平资本”)共同组建,由中平资本担任基金管理人,构建起“国资引领、专业运作、聚焦产业”的投资格局。基金将围绕徐州经开区优势产业,重点投向工程机械、智能制造、生物医药及大健康、集成电路及ICT、新能源新材料、数字经济等我市重点发展的产业领域。
来源:徐州国盛集团
点击获取更多LP资讯
本文来源投资界,原文:https://news.pedaily.cn/202604/562435.shtml
【本文为投资界原创,网页转载须在文首注明来源投资界(微信公众号ID:PEdaily2012)及作者名字。微信转载,须在微信原文评论区联系授权。违规转载必究责。】





