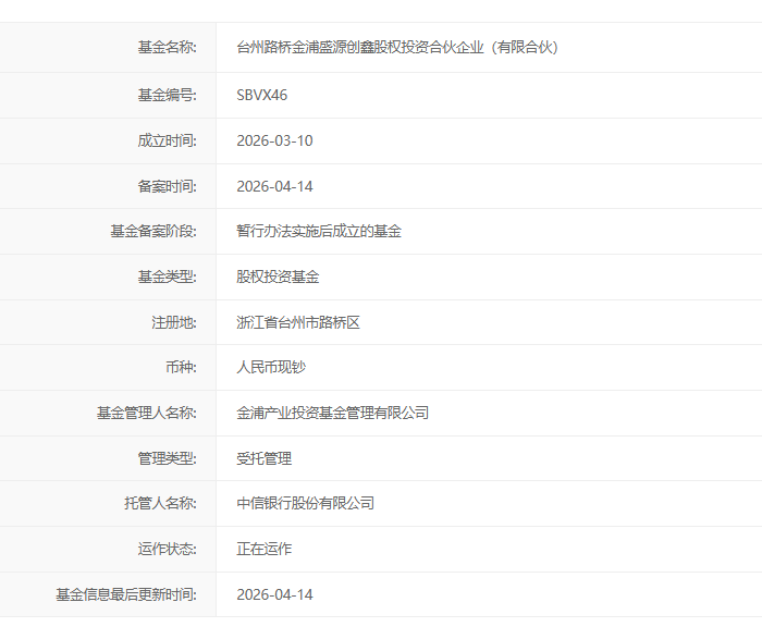
投资界(ID:pedaily2012)4月17日消息,近日,台州路桥金浦盛源创鑫股权投资合伙企业(有限合伙)(以下简称“台州金浦母基金”)完成中基协登记备案和子基金管理机构征集工作。
台州金浦母基金总规模为20.02亿元。定位为市场化、专业化创新股权投资母基金,立足台州市路桥区产业根基与金浦投资专业投资能力,坚持国家战略导向、产业赋能导向、长期价值导向,以资本为纽带链接优质GP资源、科创企业与产业生态,构建覆盖企业全生命周期的投资矩阵。基金依托金浦投资在产业研判、项目筛选、投后赋能与资源整合的成熟体系,联动台州市路桥区在民营经济、智能制造、科创孵化、政策支持的综合优势,打造“资本引领—产业协同—创新集聚—生态共生”的高质量发展闭环。
面向国家“十五五”规划全面推进新质生产力培育、加快战略性新兴产业与未来产业布局的总体要求,台州金浦母基金紧扣国家与浙江省、台州市、路桥区产业发展方向,重点投向汽车及零部件、泛半导体与新材料、机器人及智能智造三大战略新兴产业。聚焦产业链强链补链延链,精准支持专精特新、科技领军、高成长创新型企业,助力关键核心技术攻关与科技成果转化落地。
作为金浦投资体系化布局母基金的开篇之作,台州金浦母基金将充分发挥国有资本与产业资本的引领放大效应,深入践行公司总裁提出的“基地 + 基石 + 基金”三位一体的产业生态发展模式。坚持市场化运作、专业化管理、合规化运营,广泛撬动社会资本、金融资本、产业资本协同参与。基金将深度融入台州路桥“两重一强”发展目标,助力传统产业转型升级、新兴产业加速壮大、未来产业前瞻布局,以生态投资激活区域创新活力。

来源:金浦产业投资基金管理有限公司
点击获取更多LP资讯
本文来源投资界,原文:https://news.pedaily.cn/202604/562848.shtml





