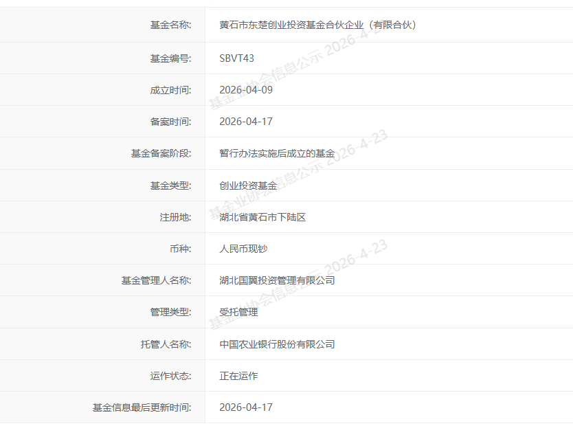
投资界(ID:pedaily2012)4月23日消息,近日,黄石市东楚创业投资基金合伙企业(有限合伙)成功取得中国证券投资基金业协会备案证明,标志着东楚投资集团首支7亿元规模科创母基金正式设立落地。

东楚创投基金成立后将以“传统产业焕新、新兴产业壮大、未来产业前瞻布局”为导向,重点投向低空经济、智慧交通领域,同步覆盖新材料、新能源、高端装备、现代农业等科技创新与新质生产力赛道,为集团高质量转型发展赋能增效。
来源:黄石东楚投资集团
点击获取更多LP资讯
本文来源投资界,原文:https://news.pedaily.cn/202604/563091.shtml
【本文为投资界原创,网页转载须在文首注明来源投资界(微信公众号ID:PEdaily2012)及作者名字。微信转载,须在微信原文评论区联系授权。违规转载必究责。】





